发那科SR 200我交配
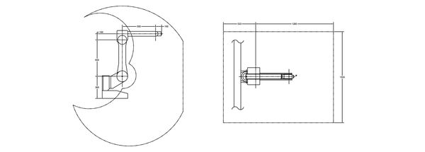
有效载荷
8公斤
达到
1158毫米
轴
6
应用程序
注塑机器人,机器负载的机器人,机器管理机器人,物料搬运机器人
有效载荷
8公斤
达到
1158毫米
轴
6
应用程序
注塑机器人,机器负载的机器人,机器管理机器人,物料搬运机器人
专门为塑料注射成型应用,发那科老伴侣200年我很适合照顾150年-350年吨注塑机器。的老(机器人)伴侣200年我功能模块化,轨行手臂可用于注塑机床维护保养,材料处理,部分转移、测量、组装和抽样。线性和旋转运动的结合提高性能和生产力。
发那科的200年我是一个很好的替代传统gantry-style武器,因为它是优化的高速提取。铁路日益减少了安装空间要求和增加通用性布局。
的SRMate200年我可以使用RJ3或者是RJ3iB控制器。
如果你的生产线要进一步节省成本,你可能想要考虑一个翻新的发那科老伴侣200年我。每一个使用工业机器人经过严格的检查和整理的过程,确保每一个机器人是行业标准的启动和运行。
有效载荷
8公斤
达到
1158毫米
轴
6
可重复性
0.1毫米
质量
400公斤
结构
清晰的表达
越来越多的
倒
j - 1
2000米/秒
J2
240°/ s (4.19 rad / s)
J3
240°/ s (4.19 rad / s)
阁下
360°/ s (6.28 rad / s)
J5
360°/ s (6.28 rad / s)
卫星
450°/ s (7.85 rad / s)
j - 1
°±1500
J2
°±240
J3
°±310
阁下
°±380
J5
°±280
卫星
°±640
让我们谈谈!
不能找到你正在寻找什么?
叫专家+ 18777626881或写一个信息。






